Назад

5 | Глушитель | Запчасти для генератора чемпион | GG6500-3 | Поставка по России | Магазин-Сервис в СПБ |

Ссылка Артикул Наименование детали Используется штук Количество Цена
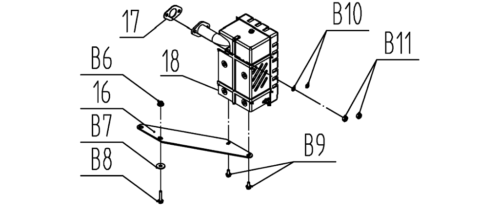
16 3055000000189

Кронштейн
Используется в агрегатах

691 i
17 3048081000100

Прокладка глушителя
Используется в агрегатах

38 i
18 3055000000186

Глушитель
Используется в агрегатах

3841 i
B6 3037004001015

Гайка М8
Используется в агрегатах

Недоступен к заказу

B7 3037005003007

Шайба D8
Используется в агрегатах

Недоступен к заказу

B8 3037001007104

Болт М8х40
Используется в агрегатах

Недоступен к заказу

B9 3037001007161

Болт М6х16
Используется в агрегатах

Недоступен к заказу

B10 3037005004016

Шайба гроверная М8
Используется в агрегатах

Недоступен к заказу

B11 3037004001015

Гайка М8
Используется в агрегатах

Недоступен к заказу