Назад

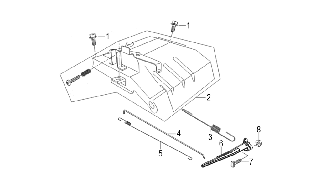
16 | Рычаг регулятора оборотов | Запчасти для генератора чемпион | GG6500-3 | Поставка по России | Магазин-Сервис в СПБ |

Ссылка Артикул Наименование детали Используется штук Количество Цена
1 G900106012010

Болт
Используется в агрегатах

Недоступен к заказу

2 G1668E0202010

Рычаг регулировки оборотов
Используется в агрегатах

867 i
3 3048080900300

Пружина рычага
Используется в агрегатах

78 i
4 3048080900100

Тяга рычага рег. оборотов
Используется в агрегатах

66 i
5 3048080900200

Пружина тяги рег. оборотов
Используется в агрегатах

61 i
6 4665270189648-0002

Рычаг регулятора оборотов
Используется в агрегатах

327 i
7 390006021BX

Болт М6х21 с квадр. головкой
Используется в агрегатах

28 i
8 G900406000011

Гайка М6
Используется в агрегатах

Недоступен к заказу