Назад

7 КОЛЕСА | Запчасти для снегоуборщика чемпион ST661BS | Поставка по России | Магазин-Сервис в СПБ |

Ссылка Артикул Наименование детали Используется штук Количество Цена
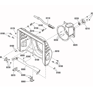
0010 1751285YP

WHEEL & TIRE ASSEMBLY, 13 x 5, LH
Используется в агрегатах

27688 i
0020 1751286YP

WHEEL & TIRE ASSEMBLY, 13 x 5, RH
Используется в агрегатах

10730 i
0010-20 024373MA

VALVE STEM & CAP
Используется в агрегатах

1243 i
0030 1657528SM

RING, Retaining, Self Lock, 3/4
Используется в агрегатах

933 i
0040 7031965YP

WASHER
Используется в агрегатах

799 i
0060 577015MA

BOLT, Hex, 1/4-20 x 1-3/4, G5
Используется в агрегатах

991 i
0070 703232

NUT, Hex, Nylock, 1/4-20
Используется в агрегатах

398 i
0080 703226

PIN, Klik, 1/4 x 1-3/8
Используется в агрегатах

876 i