Назад

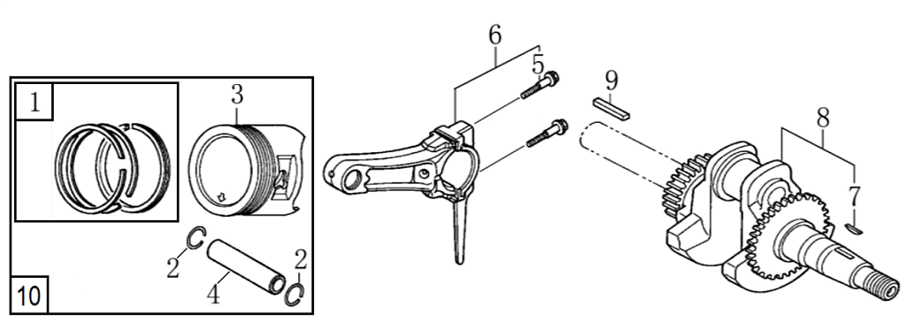
9 ПОРШЕНЬ -ЦИЛИНДР -КОЛЕНВАЛ- КОЛЬЦА | Запчасти для снегоуборщика чемпион ST655 | Поставка по России | Магазин-Сервис в СПБ |

Ссылка Артикул Наименование детали Используется штук Количество Цена
1 DAF001

Кольца поршневые, комплект
Используется в агрегатах

376 i
2 380560056-0001

Кольцо стопорное
Используется в агрегатах

11 i
3 1500005

Поршень68х49
Используется в агрегатах

831 i
4 130060031-0001

Палец поршневой 18х54
Используется в агрегатах

299 i
5 130180001-0001

Болт шатуна
Используется в агрегатах

Недоступен к заказу

6 DCK002

Шатун
Используется в агрегатах

662 i
7 GFB08011

Шпонка 4х5,5х12
Используется в агрегатах

80 i
8 130290158-0001

Коленвал
Используется в агрегатах

3100 i
9 380620031-0001

Шпонка 45,5х4,78х4,78
Используется в агрегатах

88 i
10 1500005

Поршень, комплект
Используется в агрегатах

831 i