Назад

4 | Опора (виброизолятор) двигателя | Запчасти для генератора чемпион | GG2801| Поставка по России | Магазин-Сервис в СПБ |

Ссылка Артикул Наименование детали Используется штук Количество Цена
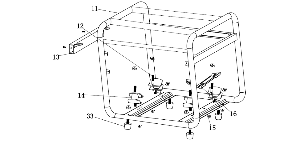
11 4665270189679-0089

Рама
Используется в агрегатах

Недоступен к заказу

12 4665270189686-0090

Виброизолятор стор. глушит.
Используется в агрегатах

279 i
13 4665270189686-0091

Планка
Используется в агрегатах

Недоступен к заказу

14 4665270189686-0092

Виброизолятор стор. панели
Используется в агрегатах

279 i
15 4665270189686-0093

Гайка
Используется в агрегатах

Недоступен к заказу

16 4665270189686-0094

Кронштейн
Используется в агрегатах

Недоступен к заказу

33 4665270189686-0111

Опора рамы
Используется в агрегатах

164 i