Назад

2 | Панель | Запчасти для генератора чемпион | GG2801| Поставка по России | Магазин-Сервис в СПБ |

Ссылка Артикул Наименование детали Используется штук Количество Цена
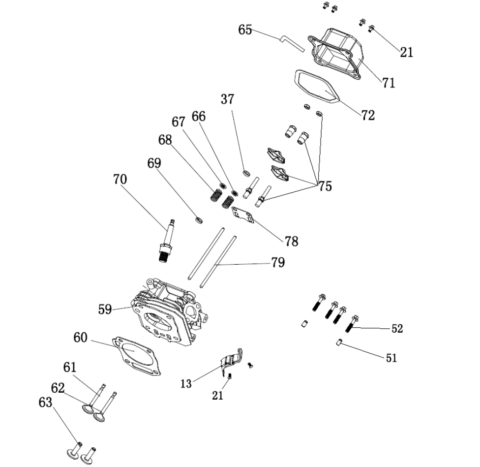
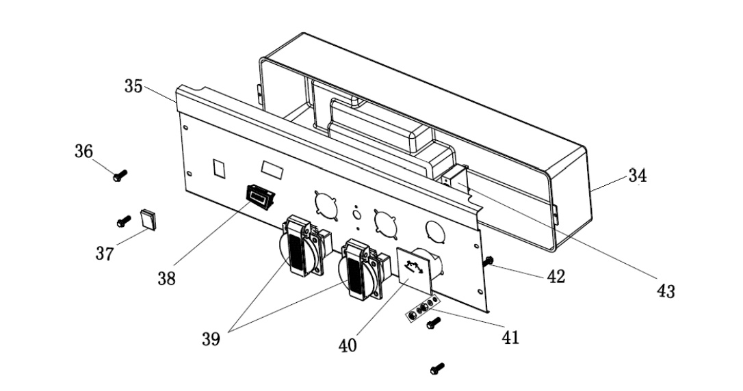
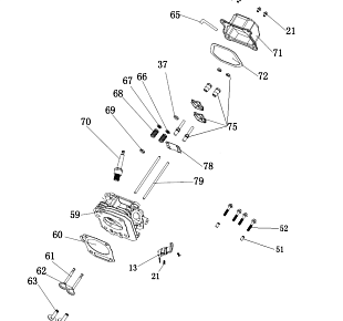
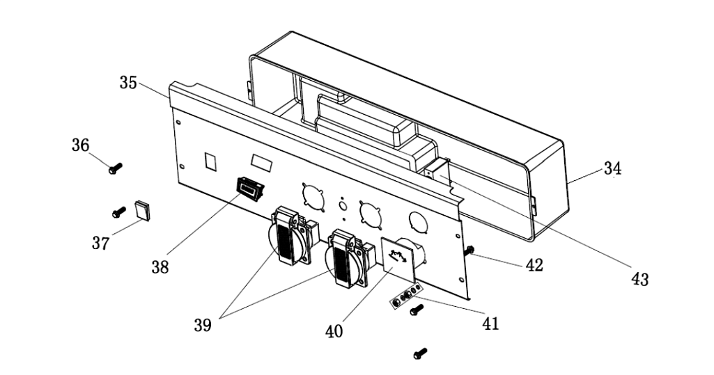
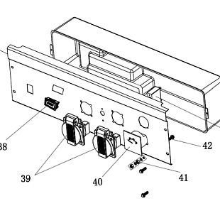
34 4665270189686-0112

Крышка панели задняя
Используется в агрегатах

Недоступен к заказу

35 4665270189679-0113

Панель
Используется в агрегатах

Недоступен к заказу

36 4665270189686-0114

Болт
Используется в агрегатах

Недоступен к заказу

37 3012002000007

Выключатель зажигания
Используется в агрегатах

153 i
38 3047018000001

Счетчик моточасов
Используется в агрегатах

1234 i
39 029029110160

Розетка
Используется в агрегатах

320 i
40 029029300100

Вольтметр
Используется в агрегатах

741 i
41 4665270189686-0119

Гайка
Используется в агрегатах

Недоступен к заказу

42 4665270189686-0120

Болт
Используется в агрегатах

Недоступен к заказу

43 029029231201

Выключатель сети
Используется в агрегатах

979 i