Назад

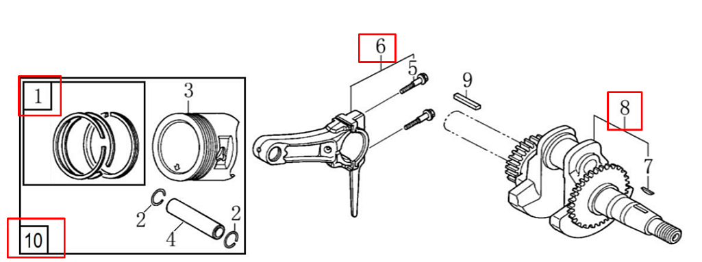
6 | ПОРШЕНЬ - КОЛЕНВАЛ- КОЛЬЦА | Запчасти для виброплиты чемпион | PC1050FT | Поставка по России | Магазин-Сервис в СПБ |

Ссылка Артикул Наименование детали Используется штук Количество Цена
1 DAF001

Кольца поршневые, комплект
Используется в агрегатах

376 i
2 380560056-0001

Стопор пальца поршня
Используется в агрегатах

11 i
3 1500005

Поршень 68мм
Используется в агрегатах

831 i
4 130060031-0001

Палец поршневой
Используется в агрегатах

299 i
5 130180001-0001

Болт шатуна
Используется в агрегатах

Недоступен к заказу

6 DCK002

Шатун
Используется в агрегатах

662 i
7 GFB08011

Шпонка 4х5,5х12
Используется в агрегатах

80 i
8 DB49K001

Коленвал
Используется в агрегатах

2755 i
9 380620031-0001

Шпонка 4,78х4,78х43
Используется в агрегатах

88 i
10 1500005

Поршень 68мм, комплект
Используется в агрегатах

831 i