Назад

10 | Глушитель | Запчасти для генератора чемпион | GGG7001EW | Поставка по России | Магазин-Сервис в СПБ |

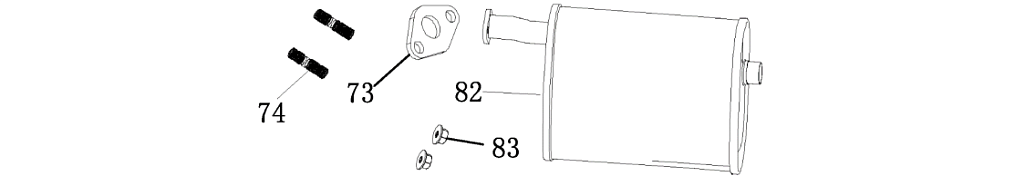
Ссылка Артикул Наименование детали Используется штук Количество Цена
73 3048081000100

Прокладка глушителя
Используется в агрегатах

38 i
74 4665270189648-0070

Шпилька
Используется в агрегатах

Недоступен к заказу

82 4665270189624-0078

Глушитель
Используется в агрегатах

3625 i
83 4665270189648-0077

Гайка
Используется в агрегатах

Недоступен к заказу