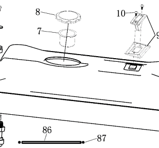
Назад

2 | Панель | Запчасти для генератора чемпион | GG5000EW | Поставка по России | Магазин-Сервис в СПБ |

Ссылка Артикул Наименование детали Используется штук Количество Цена
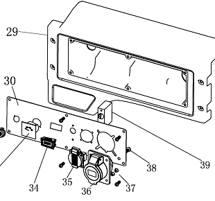
29 4665270189648-0111

Панель (пластиковый корпус)
Используется в агрегатах

1575 i
30 4665270189631-0120

Панель пустая
Используется в агрегатах

Недоступен к заказу

31 4665270189648-0113

Винт
Используется в агрегатах

Недоступен к заказу

32 4665270189631-0122

Замок зажигания
Используется в агрегатах

667 i
33 029029300100

Вольтметр
Используется в агрегатах

741 i
34 3047018000001

Счетчик моточасов
Используется в агрегатах

1234 i
35 029029110160

Розетка 16А
Используется в агрегатах

320 i
36 3014003000020

Розетка 32А
Используется в агрегатах

969 i
37 4665270189648-0119

Гайка
Используется в агрегатах

Недоступен к заказу

38 4665270189648-0120

Болт
Используется в агрегатах

Недоступен к заказу

39 10000-00002

Выключатель сети
Используется в агрегатах

815 i
40 4665270189631-0130

Кабель
Используется в агрегатах

Недоступен к заказу