Назад

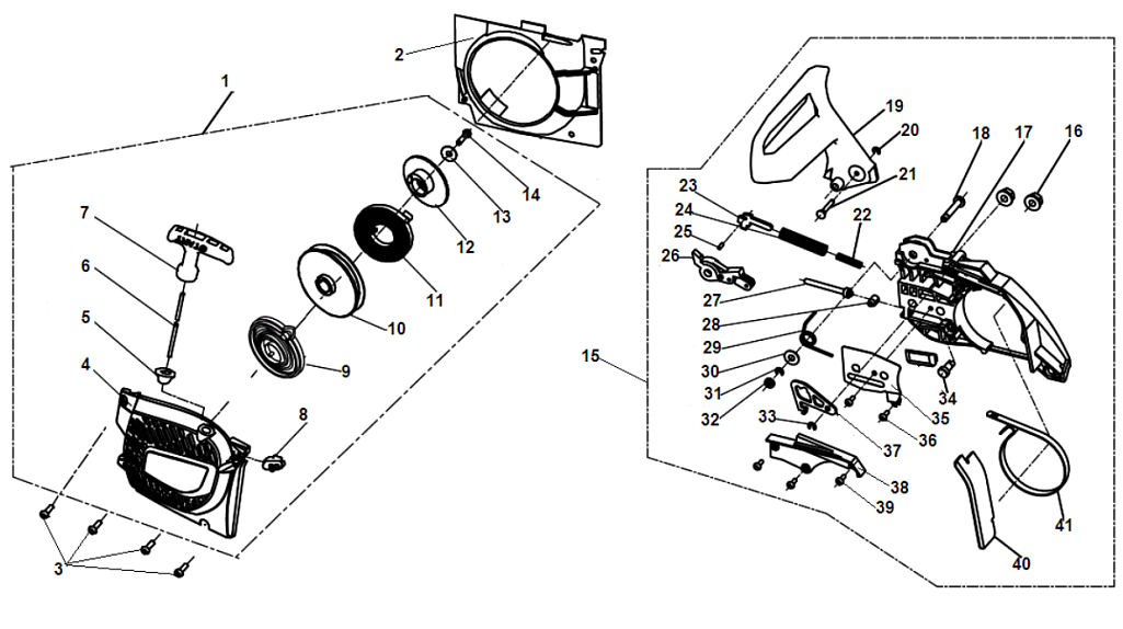
4 СТАРТЕР - ТОРМОЗ ЦЕПИ | Запчасти для бензопилы чемпион 245 | Поставка по России | Магазин-Сервис в СПБ |

Ссылка Артикул Наименование детали Используется штук Количество Цена
1 3002000313

Стартер в сборе
Используется в агрегатах

1263 i
2 3001014106

Кожух крыльчатки маховика
Используется в агрегатах

189 i
3 5010040514

Винт крепления стартера
Используется в агрегатах

Недоступен к заказу

4 3001013317

Крышка стартера
Используется в агрегатах

514 i
5 4504001101

Направляющая шнура стартера
Используется в агрегатах

50 i
6 5310038-76 (1)

Шнур стартера
Используется в агрегатах

140 i
7 1700003

Ручка стартера
Используется в агрегатах

150 i
8 4018002115

Направляющая винтов
Используется в агрегатах

Недоступен к заказу

9 4012001201

Пружина стартера возвратная
Используется в агрегатах

288 i
10 4012015105

Барабан стартера
Используется в агрегатах

249 i
11 4012002103

Пружина храповика стартера
Используется в агрегатах

199 i
12 4012010102

Храповик стартера
Используется в агрегатах

301 i
13 5050010516

Шайба храповика стартера
Используется в агрегатах

46 i
14 5010130514

Винт крепления храповика
Используется в агрегатах

40 i
15 3002000205

Крышка шины в сборе
Используется в агрегатах

2055 i
16 1400007

Гайка крышки шины М8
Используется в агрегатах

91 i
17 3001011307

Крышка шины
Используется в агрегатах

712 i
18 4011005101

Болт крепления ручки тормоза
Используется в агрегатах

Недоступен к заказу

19 3001036103

Ручка тормоза
Используется в агрегатах

514 i
20 5070030300

Шайба стопорная
Используется в агрегатах

Недоступен к заказу

21 4011005103

Штифт ручки тормоза
Используется в агрегатах

Недоступен к заказу

22 4011002101

Пружина ленты тормоза внутренняя
Используется в агрегатах

40 i
23 4011004108

Тяга ленты тормоза
Используется в агрегатах

56 i
24 4011001102

Пружина ленты тормоза основная
Используется в агрегатах

115 i
25 4011014105

Штифт тяги
Используется в агрегатах

Недоступен к заказу

26 4011004201

Рычаг ленты тормоза
Используется в агрегатах

127 i
27 4015002102

Болт натяжения цепи
Используется в агрегатах

148 i
28 4015004102

Палец натяжения цепи
Используется в агрегатах

108 i
29 4011006101

Пружина ручки тормоза
Используется в агрегатах

42 i
30 5050010618

Шайба пружины
Используется в агрегатах

Недоступен к заказу

31 5070030400

Шайба стопорная
Используется в агрегатах

Недоступен к заказу

32 4011008101

Шайба
Используется в агрегатах

Недоступен к заказу

33 5070030301

Шайба стопорная
Используется в агрегатах

Недоступен к заказу

34 4015001102

Шестерня натяжения цепи
Используется в агрегатах

253 i
35 040606002

Боковой лист на крышку шины
Используется в агрегатах

82 i
36 5010024206

Винт крепления бокового листа
Используется в агрегатах

Недоступен к заказу

37 4011009101

Стопорная пластина ручки тормоза
Используется в агрегатах

110 i
38 3001015102

Крышка тормозного механизма
Используется в агрегатах

148 i
39 5010024209

Винт крепления крышки
Используется в агрегатах

Недоступен к заказу

40 4014014101

Накладка крышки шины
Используется в агрегатах

161 i
41 YD520016-23111

Лента тормоза
Используется в агрегатах

232 i